জিনগুলি (বলুন: জিনজ ) শারীরিক বৈশিষ্ট্য নির্ধারণে গুরুত্বপূর্ণ ভূমিকা পালন করে - আমরা কেমন দেখতে — এবং আমাদের সম্পর্কে আরও অনেক কিছু। তারা এমন তথ্য বহন করে যা আপনাকে তৈরি করে যে আপনি কে এবং আপনি কেমন দেখতে: কোঁকড়া বা সোজা চুল, লম্বা বা ছোট পা, এমনকি আপনি কীভাবে হাসবেন বা হাসবেন। এই জিনিসগুলির অনেকগুলি জিন দ্বারা একটি পরিবারে এক প্রজন্ম থেকে অন্য প্রজন্মে চলে যায়।
এই পাঠের শেষে, আপনি জানতে পারবেন

জিন হল ডিএনএ বা আরএনএ -তে নিউক্লিওটাইডগুলির একটি ক্রম যা একটি জিন পণ্যের সংশ্লেষণকে এনকোড করে, আরএনএ বা প্রোটিন। একটি ক্রোমোজোম একটি দীর্ঘ ডিএনএ স্ট্র্যান্ড দিয়ে গঠিত যার অনেক জিন রয়েছে। একটি মানুষের ক্রোমোজোমে প্রায় 500 মিলিয়ন বেস জোড়া ডিএনএ সহ হাজার হাজার জিন থাকতে পারে।
জীববিজ্ঞানে, একটি জিন আরএনএ বা নিউক্লিওটাইডগুলির একটি ক্রমকে বোঝায় যার একটি ফাংশন আছে এমন অণুর জন্য ডিএনএ কোডিং। একটি জিন প্রকাশের সময়, ডিএনএ প্রথমে আরএনএতে অনুলিপি করা হয়। আরএনএ সরাসরি কার্যকরী হতে পারে অথবা এটি একটি প্রোটিনের কার্য সম্পাদনের জন্য মধ্যবর্তী টেমপ্লেট হতে পারে। একটি জীবের বংশে জিনের সংক্রমণ ফেনোটাইপিক বৈশিষ্ট্যের উত্তরাধিকার ভিত্তি গঠন করে। এই জিনগুলি জিনোটাইপ নামে পরিচিত বিভিন্ন ডিএনএ ক্রম তৈরি করে। জিনোটাইপগুলি পরিবেশগত এবং উন্নয়নমূলক কারণগুলির সাথে মিলিয়ে ফিনোটাইপ কী হবে তা নির্ধারণ করে। বেশিরভাগ জৈবিক বৈশিষ্ট্য পলিজেন (বিভিন্ন জিন) এবং জিন-পরিবেশের মিথস্ক্রিয়া দ্বারা প্রভাবিত হয়। কিছু জেনেটিক বৈশিষ্ট্য চোখের রঙের মতো দৃশ্যমান, এবং কিছু রক্তের গ্রুপের মতো নয়।
জিনের ক্রম অনুসারে মিউটেশন অর্জন করা সম্ভব। এটি জনসংখ্যার অ্যালিল নামে বিভিন্ন রূপের দিকে পরিচালিত করে। এই অ্যালিলগুলি একটি প্রোটিনের সামান্য ভিন্ন সংস্করণ এনকোড করে যা ফেনোটাইপিকাল বৈশিষ্ট্যের কারণ। প্রাকৃতিক নির্বাচন বা অ্যালিলগুলির উপযুক্ত এবং জেনেটিক ড্রিফ্টের বেঁচে থাকার ফলে জিনগুলি বিকশিত হয়।
এখানে ডিএনএ-র ডাবল-হেলিক্স স্ট্র্যান্ডের চিত্র তুলে ধরা হয়েছে।

বেশিরভাগ জীব তাদের জিনকে দীর্ঘ ডিএনএ স্ট্র্যান্ডে এনকোড করে। DNA মানে deoxyribonucleic acid। ডিএনএ একটি চেইন দিয়ে গঠিত যা চার ধরনের নিউক্লিওটাইড সাব ইউনিট নিয়ে গঠিত, প্রত্যেকটি পাঁচ-কার্বন চিনি (2-ডাইক্সাইরিবোজ), একটি ফসফেট গ্রুপ এবং চারটি ভিত্তির মধ্যে একটি এডেনিন, থাইমাইন, সাইটোসিন এবং গুয়ানিন।
দুটি ডিএনএ শৃঙ্খল একে অপরের চারপাশে মোচড় দিয়ে ভিতরের দিকে নির্দেশ করে এবং অ্যাডেনিন বেস থাইমাইন এবং গুয়ানিনের সাথে সাইটোসিনের সাথে যুক্ত হয়ে একটি ডাবল হেলিক্স গঠন করে। বেস পেয়ারিং এর সুনির্দিষ্টতা ঘটে কারণ এডেনিন এবং থাইমাইন দুটি হাইড্রোজেন বন্ড গঠনের জন্য একত্রিত হয়। অন্যদিকে সাইটোসিন এবং গুয়ানিন তিনটি হাইড্রোজেন বন্ড গঠন করে। একটি ডাবল হেলিক্সের দুটি স্ট্র্যান্ড অবশ্যই তাদের বেস সিকোয়েন্সের সাথে পরিপূরক হতে হবে যেন এক স্ট্র্যান্ডের অ্যাডিনিন অন্য স্ট্র্যান্ডের থাইমাইনের সাথে যুক্ত হয়, ইত্যাদি।
ডিএনএ -তে এনকোড করা জিনের এক্সপ্রেশন শুরু হয় জিনকে আরএনএ -তে প্রতিলিপি করে, দ্বিতীয় ধরনের নিউক্লিক অ্যাসিড যার মনোমারগুলি ডিএনএ -র মতো ডিওক্সাইরিবোজের পরিবর্তে চিনির রাইবোজ দিয়ে তৈরি। আরএনএতে থাইমিনের জায়গায় বেস ইউরাসিলও থাকে। আরএনএ অণুগুলি একক-অসহায় এবং তারা ডিএনএর চেয়ে কম স্থিতিশীল। যেসব জিন প্রোটিনকে এনকোড করে সেগুলো কোডন নামে পরিচিত তিন-নিউক্লিওটাইড সিকোয়েন্সের একটি সিরিজের সমন্বয়ে গঠিত। জেনেটিক কোড কোডন এবং অ্যামিনো অ্যাসিডের মধ্যে প্রোটিন অনুবাদের সময় চিঠিপত্র নির্দিষ্ট করে। জেনেটিক কোড সব পরিচিত জীবের জন্য প্রায় একই।
জিনের গঠন অনেক উপাদান নিয়ে গঠিত যার প্রকৃত প্রোটিন কোডিং সিকোয়েন্স প্রায়ই শুধুমাত্র একটি ছোট অংশ। এর মধ্যে রয়েছে ডিএনএ অঞ্চল যা অনুলিপি করা হয় না সেইসাথে আরএনএর অনূদিত অঞ্চল।
জিনগুলিতে একটি নিয়ন্ত্রক ক্রম থাকে যা প্রোটিন-কোডিং অঞ্চলের জন্য কখন এবং কোথায় অভিব্যক্তি ঘটে তা নিয়ন্ত্রণ করে। প্রথমত, জিনগুলির একটি প্রোমোটার ক্রম প্রয়োজন । প্রোমোটার স্বীকৃত এবং ট্রান্সক্রিপশন ফ্যাক্টর দ্বারা আবদ্ধ যেগুলি RNA পলিমারেজকে ট্রান্সক্রিপশন শুরু করতে এই অঞ্চলে নিয়োগ এবং সাহায্য করে। স্বীকৃতি সাধারণত TATA বক্সের মত একটি sensক্যমত্য ক্রম হিসাবে ঘটে। একটি জিনের একাধিক প্রোমোটার থাকতে পারে, যার ফলে মেসেঞ্জার আরএনএ (এমআরএনএ) হয় যা 5 'প্রান্তে কতদূর প্রসারিত হয় তার মধ্যে পার্থক্য করে। উচ্চ প্রতিলিপি করা জিনের "শক্তিশালী" প্রোমোটার সিকোয়েন্স থাকে এবং অন্যান্য জিনের "দুর্বল" প্রোমোটার থাকে যা ট্রান্সক্রিপশন ফ্যাক্টরগুলির সাথে দুর্বল সম্পর্ক তৈরি করে এবং ট্রান্সক্রিপশন কম ঘন ঘন শুরু করে। ইউকারিওটিক প্রোমোটার অঞ্চলগুলি প্রোক্যারিওটিক প্রোমোটারের চেয়ে অনেক বেশি জটিল এবং চিহ্নিত করা কঠিন।
বর্ধক একটি অ্যাক্টিভেটর প্রোটিন বাঁধিয়ে প্রতিলিপি বৃদ্ধি করে যা তখন প্রোমোটারের কাছে আরএনএ পলিমারেজ নিয়োগ করতে সাহায্য করে; বিপরীতভাবে, সাইলেন্সার দমনকারী প্রোটিনকে আবদ্ধ করে এবং ডিএনএকে আরএনএ পলিমারেজের জন্য কম উপলব্ধ করে। ট্রান্সক্রিপটেড প্রি-এমআরএনএতে উভয় প্রান্তে অনূদিত অঞ্চল রয়েছে যা একটি রাইবোসোম বাইন্ডিং সাইট, টার্মিনেটর এবং কোডন শুরু এবং বন্ধ করে। উপরন্তু, বেশিরভাগ ইউক্যারিওটিক -এ অনূদিত ইন্ট্রোন থাকে যা এক্সন অনুবাদ করার আগে মুছে ফেলা হয়। ইন্ট্রনের প্রান্তে ক্রমগুলি স্প্লাইস সাইটগুলিকে চূড়ান্ত পরিপক্ক এমআরএনএ তৈরি করতে নির্দেশ করে যা প্রোটিন বা আরএনএ পণ্য এনকোড করে
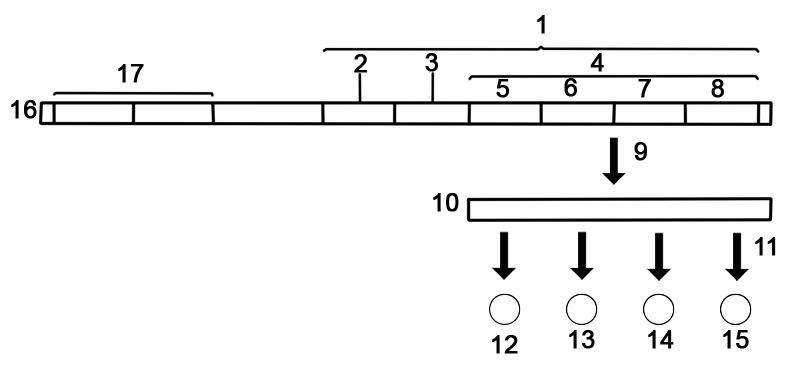
নীচে ইউক্যারিওটিক প্রোটিন-কোডিং জিনের গঠন।

অনেক প্রোকারিওটিক জিনগুলি অপারনে সংগঠিত হয়, একাধিক প্রোটিন-কোডিং সিকোয়েন্স যা একক হিসাবে প্রতিলিপি করা হয়। একটি অপেরনের জিনগুলি একটি অবিচ্ছিন্ন এমআরএনএ হিসাবে প্রতিলিপি করা হয়, যা একটি পলিসিস্ট্রনিক এমআরএনএ হিসাবে উল্লেখ করা হয়। এই প্রসঙ্গে, সিস্ট্রন শব্দটি জিনের সমতুল্য। একটি অপেরনের এমআরএনএর প্রতিলিপি প্রায়ই একটি দমনকারী দ্বারা নিয়ন্ত্রিত হয় যা নির্দিষ্ট বিপাকের উপস্থিতির উপর নির্ভর করে একটি সক্রিয় বা নিষ্ক্রিয় অবস্থায় ঘটতে পারে। সক্রিয় হলে, দমনকারী অপেরনের শুরুতে একটি ডিএনএ ক্রমকে আবদ্ধ করে, যাকে অপারেটর অঞ্চল বলা হয় এবং অপেরনের প্রতিলিপি দমন করে; যখন দমনকারী নিষ্ক্রিয় হয় তখন অপেরনের প্রতিলিপি ঘটতে পারে। অপেরন জিনের পণ্যগুলির সাধারণত সম্পর্কিত ফাংশন থাকে এবং একই নিয়ন্ত্রক নেটওয়ার্কের সাথে জড়িত।
নীচে প্রোটিন-কোডিং জিনের একটি প্রোকারিওটিক অপেরনের গঠন।
